Click here for AJ45KIT PDF Install Steps
Note: All Bolts, Nuts, Washers & Dynabolts included for 16 Joist Supports + Base Plates
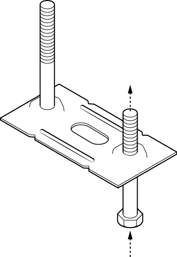
Click here for AJH45G Install Steps
Note: Each Adjustable Joist Support (joist holder + base plate) requires (Galvanised) 2 x M10 Hex Head Bolts, 4 x M10 Nuts, 2 X M10 washers & 1 x 12mm x 50mm Galvanised Dynabolt or 10mm x 50mm Masonry Bolt or similar.
Click here for AJH50G Install Steps
Note: Each Adjustable Joist Support (joist holder + base plate) requires (Galvanised) 2 x M10 Hex Head Bolts, 4 x M10 Nuts, 2 X M10 washers & 1 x 12mm x 50mm Galvanised Dynabolt or 10mm x 50mm Masonry Bolt or similar.
Mark out positions for the base plates on the concrete slab (see table for minimum span requirements for various width joists) These are all based upon “continuous span” with joists at 450mm between centers. Either use a “straight edge” or run a string line from one of the notches in the outer base plates and flick the line for the positions of the internal base plates.

Drill holes for base plates (or for joist supports if securing them directly to concrete) using 12 mm masonry bit for 12 mm dynabolts or 10 mm masonry bit for 10 mm masonry bolts.

Insert 10mm hex-bolt through base plate.
AJ45KIT is designed to provide a "top of the joist" height from 86mm using 100mm length fully threaded bolts + 70mm x 45mm joists to 150mm + 90mm x 45mm joists.
AJH45G is designed to provide a "top of the joist" height from 86mm using 60mm long bolts + 70mm x 45mm joists to 170mm using 120mm long bolts + 90mm x 45mm joists.
You can increase this height to 220mm by using 140mm x 45mm Joist (This is the maximum Joist height you can use).

Fix base plate to concrete using 12mm DynaBolts or 10mm masonry bolts. Repeat steps 1 - 4 for all base-plates to be installed. .
Tip No. 1 Before fully tightening DynaBolts or Masonry bolts, either use a straight edge or run a string line along the edge of the base-plate vertical bolts to ensure they line up correctly. Adjust base-plate in the slot if required.
Tip No. 2 Take care when using an impact gun to tighten the dynabolts not to overtighten and strip the thread.

Attach joist support onto hex bolts and adjust to approx height required. Semi-tighten nuts - this will tighten the whole structure enough to withstand joists being inserted and secured
Adjust joist to correct height using dumpy or laser-level or string line. (Note - you will need to loosen the nuts off if the joist support height needs adjusting)
Fully tighten nuts locking the joist support

Insert joist into joist support and secure with minimum 2 of 35mm x 3.2mm galvanised connector nails on each side of the joist support.
Tip - when fixing nails, brace the other side of the joist support with your foot to minimise vibration.

We quite often find that people have miscalculated the number of adjustable joist support required for their decking area. We believe the main cause of this is that people work out the length of their joists, and simply divide by the "support spacings" (taken from our span table) they have decided on between the supports - eg - having a 3 metre length joist with spacings of 1 metre to give 3 supports.
Wrong! - This does not take into account the initial support at the start of the joist.
Therefore, the correct answer would be 4.
Similarly, when working out the number of joists required, you need to work out the number of "joists spacings" along your deck and remember to add one for the initial joist.
So, to finalise the number of supports you will need for your deck, multiply the number of joists on your deck by the number of supports to be placed along your joists. This should give you an accurate answer.
IF IN DOUBT - DRAW A SMALL DIAGRAM WITH CROSSES FOR YOUR SUPPORTS AS SHOWN BELOW AND SIMPLY COUNT THEM UP.
IN THIS EXAMPLE YOU WILL NEED 48 ADJUSTABLE JOIST SUPPORTS

The KlevaKlip Adjustable Joist Supports system has been independently tested to support a load bearing capacity of 350 kg per square metre when used at the recommended joist spans listed below.
KlevaKlip Joist Supports and Base Plates have been hot dip galvanised in accordance with Australian Standards AS/NZS 4680:2006 (ISO 1461)
Minimum top of joist heights
76 mm – fixing joist bracket direct to concrete no base-plate no bolts and using 70mm joist
86 mm – using Joist Support KIT- lowest height achievable using base-plate, 100mm fully treaded bolts and joist bracket with 70mm joist
86 mm – using Adjustable Joist Support AJH45G- lowest height achievable using base-plate, 60mm bolts and joist bracket with 70mm joist
106 mm – using Joist Support KIT- lowest height achievable using base-plate, 100mm fully threaded bolts and joist bracket with 90mm joist
106 mm – using Adjustable Joist Support AJH45G - lowest height achievable using base-plate, 60mm bolts and joist bracket with 90mm joist
116 mm – using Adjustable Joist Support AJH50G - lowest height achievable using base-plate, 60mm bolts and joist bracket with 100mm joist
Maximum top of joist heights
150 mm – using Joist Support KIT,100mm bolts & 90mm joist
170 mm – using Adjustable Joist Support AJH45G, 120mm bolts & 90mm joist
180 mm – using Adjustable Joist Support AJH50G, 120mm bolts & 100mm joist
180 mm – using Joist Support KIT, 100mm bolts & 120mm joist
200 mm – using Adjustable Joist Support AJH45G, 120mm bolts & 120mm joist
232 mm – using Adjustable Joist Support AJH50G, 120mm bolts & 150mm joist
200 mm – using Joist Support KIT, 100mm bolts & 140mm joist
220 mm – using Adjustable Joist Support AJH45G, 120mm bolts & 140mm joist
230 mm – using Adjustable Joist Support AJH50G, 120mm bolts & 150mm joist
Note – the above information is a “practical” rather than an “absolute” document. There will be a number of ways to achieve the heights mentioned with different sized joists, however the installer should always be mindful to operate within the KlevaKlip product parameters and relevant joist span tables
Note: All measurements for 60mm &120mm are based on using Galvanised Zenith brand M10 hex head long-threaded bolts.
| Adjustable Joist Type | Hex Head Bolt Length | Min Height to Bottom of Joist | Max Height to Bottom of Joist | Min Height to Top of 70/90 x 45mm Timber Joist | Min Height to Top of 100/150 x 50mm Steel or Hardwood Joist | Max Height to Top of 70/90/140 x 45mm Timber Joist | Max Height to Top of 100/150x 50mm Steel or Hardwood Joist |
|
Adjusta?ble Joist "Kit" (AJ45KIT)
|
100mm | 16mm | 60mm | 86* / 106mm | 130 / 150 / 200mm ??? | ||
|
Standard Adjustable Joist (AJH45G)
|
60mm | 16mm | 20mm | 86 / 106mm | 90 /110/160mm | ||
| 120mm | 18mm | 80mm | 88* / 108mm | 150 /170/ 220mm | |||
| **No Bolt | 6mm | 76 / 96mm | |||||
|
Adjustable Joist Support (AJH50G) |
60mm | 16mm | 20mm | 116/166mm | 120/170mm | ||
| 120mm | 18mm | 80mm | 118/168mm | 180/230mm | |||
| **No Bolt | 6mm | 106/156mm |
* If using long bolts at low heights, to prevent the bolts protruding past the top of joist, the end of the bolt will need to be cut off.
** When Using Joist Support Only.
All based upon "continuous span" with joists at 450mm between centre's.
| Adjustable Joist Type | Joist Size | Recommended Span (mm) | Maximum Span (mm) |
|
Adjustable Joist "KIT" (AJ45KIT) Standard Adjustable Joist Support (AJH45G) |
70 x 45 MGP10 | 800 | 1200 |
| 90 x 45 MGP10 | 1000 | 1500 | |
| 90 x 45 MGP12 | 1200 | 1600 | |
| *120x45MGP10 | 1200 | 1800 | |
| *140x45MGP10 | 1200 | 1800 | |
|
Adjustable Joist Support (AJH50G) |
*100x50 Steel or Hardwood Joist |
1200 | 1800 |
|
* 150x50 Steel or Hardwood Joist |
1200 | 1800 |
* Joist span limited by lateral loading on bolts